在企业的招聘管理中,流程的标准化与可视化是提升效率、降低错误率的关键,Visio作为专业的流程图绘制工具,能够将抽象的招聘流程转化为直观、可执行的视觉化方案,帮助HR部门明确各环节职责、优化资源配置,并确保新员工入职的顺畅性,以下将详细阐述基于Visio的招聘流程设计方法、具体步骤及实施要点,并通过表格对比不同流程环节的关键要素,最后附上相关FAQs解答。

Visio招聘流程的设计基础
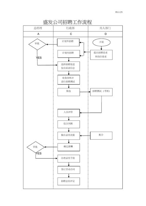
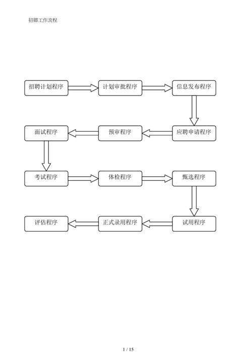
Visio招聘流程的核心是将传统招聘中的“岗位需求分析—简历筛选—面试评估—录用决策—入职办理”等环节,通过图形符号、连接线和文字说明进行结构化呈现,设计前需明确三个核心目标:一是清晰划分各阶段责任主体(如用人部门、HR、高管层),二是量化关键节点时间(如简历筛选周期、面试反馈时效),三是预设异常情况处理机制(如候选人拒绝offer、岗位需求变更)。
Visio提供的模板库(如“基本流程图”“跨职能流程图”)和形状工具(如泳道图、决策符号)是流程设计的基础。“跨职能流程图”适用于需要多部门协作的招聘场景,通过“泳道”区分不同角色的职责范围,避免职责交叉或遗漏;而“基本流程图”则适用于单一部门内的子流程(如简历筛选初筛、复试环节细化),Visio的“数据图形”功能可关联招聘数据(如简历通过率、面试到岗率),实现流程与数据的动态联动,便于后续优化。
Visio招聘流程的具体绘制步骤
流程调研与梳理
在绘制前,需通过访谈、问卷等方式收集现有招聘流程的痛点,用人部门反馈简历筛选标准不统一、HR抱怨面试协调耗时过长等,基于调研结果,梳理出流程的核心步骤(如6大主环节)和子步骤(如“简历筛选”分为“初筛(关键词匹配)”“复筛(技能评估)”),并明确每个步骤的输入/输出(输入:岗位需求说明书;输出:合格候选人名单)。
创建跨职能泳道图
打开Visio,选择“新建”→“流程图”→“跨职能流程图”,根据企业实际部门设置添加泳道(如“HR部门”“用人部门”“高管层”“候选人”),每个泳道代表一个责任主体,需标注其核心职责(如HR负责流程统筹与候选人沟通,用人部门负责专业能力评估)。

绘制流程节点与连接线
使用Visio形状库中的符号表示不同类型的节点:
- 开始/结束(圆角矩形):标注“招聘需求启动”“候选人入职”等;
- 过程(矩形):细化具体操作,如“发布招聘信息”“组织笔试”;
- 决策(菱形):设置判断条件,如“是否符合岗位基本要求?”“是否通过复试?”;
- 文档(文档符号):关联流程中的关键文件,如《岗位说明书》《面试评估表》。
通过“连接线”工具将节点按逻辑顺序连接,并在连接线旁标注时间要求(如“3个工作日内完成初筛”)或条件(如“是/否”),从“简历投递”节点引出两条连接线,分别通向“符合要求(进入初筛)”和“不符合(存入人才库)”。
添加数据标注与优化
利用Visio的“数据图形”功能,为流程节点绑定关键指标,在“面试评估”节点关联“平均面试时长”“候选人满意度”等数据,通过颜色深浅或图标直观展示绩效情况,检查流程中的冗余环节(如重复背调)或断点(如录用后未及时对接入职),通过合并节点或增加反馈机制优化流程。
导出与分发
完成绘制后,Visio支持将流程图导出为PDF、图片或网页格式,方便HR部门打印张贴、嵌入招聘管理系统,或通过邮件发送给用人部门,对于需要动态更新的流程,可保存为Visio原生格式(.vsdx),方便后续修改。

招聘流程关键环节对比(表格形式)
流程环节 | 责任主体 | 关键动作 | 时间要求 | 输出物 |
---|---|---|---|---|
招聘需求确认 | 用人部门、HR | 用人部门提交《岗位需求表》,HR审核岗位描述、任职资格与薪资预算 | 需求提出后2个工作日内 | 《岗位需求确认书》 |
简历筛选 | HR、用人部门 | HR初筛(学历/经验/关键词),用人部门复筛(专业技能/项目经验) | 收到简历后3个工作日内 | 《合格候选人名单》 |
面试组织 | HR、用人部门 | 协调面试时间(含笔试/专业面/综合面),发送面试邀请,准备面试评估表 | 面试前1个工作日 | 《面试安排表》《面试评估表》 |
录用决策 | 用人部门、高管层 | 综合面试评分与背调结果,确定录用候选人,HR发放offer并谈薪 | 面试后2个工作日内 | 《录用审批表》《offer letter》 |
入职办理 | HR、行政部门 | 候选人提交入职材料,HR办理社保/公积金开户,行政部门安排工位/设备 | offer接受后3个工作日内 | 《员工信息登记表》《入职材料清单》 |
入职跟踪 | HR、用人部门 | 试用期导师制定培养计划,HR定期沟通适应情况,用人部门评估绩效并反馈转正意见 | 试用期每月1次 | 《试用期跟踪表》《转正评估报告》 |
相关问答FAQs
Q1:使用Visio绘制招聘流程时,如何确保流程图符合企业实际需求?
A:首先需进行充分的流程调研,访谈HR、用人部门及新员工,收集现有流程的痛点与优化建议;在绘制过程中采用“迭代优化”模式,先绘制核心框架(如需求-筛选-面试-入职4大环节),再逐步细化子步骤;流程图初稿完成后,组织相关部门评审,根据反馈调整节点设置(如增加“紧急招聘绿色通道”)或职责分工(如明确高管层终审岗位的级别标准),确保流程与企业组织架构、业务节奏匹配。
Q2:Visio招聘流程图绘制完成后,如何推动落地执行?
A:落地执行需结合“培训+工具+考核”三方面:一是对HR及用人部门进行流程培训,解读各环节职责、时间节点及异常处理方式(如候选人爽约后的补面流程);二是将流程图嵌入招聘管理系统,例如通过Visio导出图片后关联至OA系统的招聘模块,让HR在发起招聘时同步查看流程指引;三是建立考核机制,将流程节点时效(如“简历初筛完成率”)纳入HR及用人部门的绩效考核,定期分析流程数据(如各环节耗时占比),对超时节点进行复盘优化,确保流程从“可视化”转化为“常态化执行”。