在当今竞争激烈的商业环境中,企业的高效运营离不开科学的管理和精准的规划,而招聘环节作为人才入口的关键,其流程的优化与可视化至关重要,Visio作为专业的图表绘制工具,凭借其强大的模板库、直观的拖拽操作和丰富的数据联动功能,正在被越来越多的企业应用于招聘全流程管理,从需求分析到员工入职,实现招聘工作的标准化、透明化和高效化。

Visio在招聘需求分析中的应用
招聘工作的第一步是明确需求,而Visio能够通过组织结构图、岗位价值评估矩阵等工具,帮助HR部门与业务部门高效协同,在新增岗位审批时,HR可利用Visio绘制现有团队的组织结构图,清晰展示汇报关系和岗位空缺位置;通过“岗位分析矩阵”模板,将岗位所需的技能、经验、职责等维度可视化,与业务部门共同确认招聘标准,避免需求描述模糊导致的人才错配,Visio的“流程图”功能还可梳理跨部门岗位的协作流程,明确新增岗位在业务链条中的定位,确保招聘目标与企业战略一致。
Visio在招聘流程设计中的标准化作用
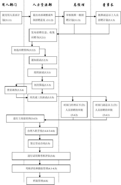
传统招聘流程常因环节不清晰、责任不明确导致效率低下,Visio的流程图模板可有效解决这一问题,HR可基于“基本流程图”或“跨职能流程图”绘制标准招聘流程:从收到简历、初筛、笔试、面试(含多轮专业面、综合面)、背景调查到发放Offer,每个环节标注负责人、耗时节点和关键输出物(如简历评分表、面试评估报告),在跨职能流程图中,通过“泳道”划分HR部门、业务部门、用人部门的责任边界,避免出现“面试时间冲突”“反馈延迟”等问题,对于批量招聘项目(如校园招聘、社会招聘专场),Visio还可设计“甘特图”模板,标注各阶段时间节点、任务优先级和资源分配,确保团队协作有序。
Visio在简历筛选与面试管理中的可视化呈现
简历筛选阶段,Visio可通过“数据透视图”功能将候选人信息结构化,创建“候选人资质分析表”,包含学历、工作经验、技能证书等字段,通过颜色标记符合岗位要求的候选人(如绿色为优先推荐、黄色为备选、红色为淘汰),直观呈现人才池分布,面试环节中,Visio的“面试评估矩阵”模板可帮助面试官量化评分:设置“专业技能”“沟通能力”“团队协作”等评估维度,每个维度赋予不同权重,最终自动生成综合得分,减少主观偏差,对于多轮面试的候选人,Visio还可绘制“面试进度跟踪图”,实时更新各轮面试结果,避免遗漏或重复安排。
Visio在招聘数据分析与决策支持中的价值
招聘效果的评估离不开数据支撑,Visio的“图表”功能可将招聘数据转化为直观的可视化报告,通过“饼图”展示不同渠道的简历来源占比(如招聘网站、猎头推荐、内部转介绍),优化渠道投放策略;用“柱状图”对比各岗位到面率、Offer接受率、入职率等关键指标,定位招聘瓶颈;借助“折线图”分析月度招聘趋势,预测未来人才需求,Visio支持与Excel、Power BI等工具联动,将招聘数据实时同步至图表,帮助管理层快速掌握招聘动态,调整招聘策略。

Visio在候选人沟通与入职引导中的体验优化
良好的候选人体验是企业雇主品牌的重要体现,Visio可通过“信息图”设计清晰的招聘指南,为候选人制作“面试流程说明图”,标注各环节时间、地点、所需材料及注意事项,减少沟通成本;用“入职引导地图”可视化展示新员工报到流程(如工位领取、设备配置、入职培训安排),帮助新人快速融入团队,对于远程面试,Visio还可提前共享“会议议程图”,明确面试官与候选人的互动环节,提升面试效率。
Visio在招聘协同中的跨部门沟通提升
招聘涉及多部门协作,Visio的共享功能可打破信息壁垒,HR可将招聘流程图、岗位需求表等文件上传至SharePoint或Teams,实时同步更新状态;业务部门通过查看“面试安排日历图”,提前协调面试时间;管理层则可通过“招聘仪表盘”汇总图表,实时监控整体招聘进度,这种可视化协作方式减少了信息传递误差,提升了团队响应速度。
相关问答FAQs
Q1:Visio相比其他办公软件(如Word、Excel)在招聘管理中有什么独特优势?
A1:Visio的核心优势在于“可视化表达”,相比Excel的表格数据和Word的文字描述,Visio能通过流程图、矩阵图、组织结构图等图形化语言,更直观地呈现招聘逻辑、责任关系和数据分布,Excel虽可记录候选人信息,但Visio能通过“面试进度跟踪图”动态展示候选人状态;Word可撰写招聘流程文档,但Visio的“跨职能流程图”能明确部门分工,减少沟通成本,Visio支持拖拽操作和模板复用,非设计专业背景的HR也能快速上手,提升工作效率。
Q2:企业如何快速上手Visio进行招聘管理?是否有现成的模板可以使用?
A2:企业可通过以下步骤快速应用Visio:访问Visio官方模板库(或Office 365内置模板),搜索“招聘流程”“岗位分析”“面试评估”等关键词,直接调用现成模板(如“招聘管理流程图”“候选人评分矩阵”);根据企业实际需求修改模板内容,如调整流程环节、添加自定义字段;通过Visio的“团队协作”功能实现文件共享和实时编辑,对于零基础用户,可利用Visio的“形状”库和“自动对齐”功能手动绘制,或参考微软官方教程学习基础操作,企业还可将定制化模板保存为“模板文件”,实现招聘流程的标准化复用。

