亚马逊作为全球领先的科技和电商巨头,其招聘流程尤其是针对特殊岗位如“调查员(Investigator)”的选拔,始终以严谨性、专业性和合规性为核心,调查员岗位在亚马逊体系中承担着内部合规、风险控制、案件调查等关键职责,需要候选人具备扎实的专业知识、敏锐的判断力以及高度的职业操守,以下将从岗位职责、任职要求、招聘流程、能力模型及职业发展等方面,详细解析亚马逊招聘调查员的相关内容。

岗位职责:多维度的合规与风险守护者
亚马逊调查员的主要职责围绕“识别风险、调查事实、推动合规”展开,具体包括:
- 内部案件调查:针对员工涉嫌的不当行为(如数据泄露、利益冲突、欺诈、职场歧视等)进行独立调查,收集证据、访谈相关人员,形成客观调查报告,并提出处理建议。
- 合规风险监控:跟踪全球各地的法律法规(如GDPR、FCPA等)及亚马逊内部政策,识别业务运营中的合规漏洞,协助制定防控措施。
- 外部欺诈应对:调查平台上的第三方卖家、消费者或合作伙伴的欺诈行为(如刷单、虚假交易、知识产权侵权等),协调法务、运营团队采取行动,维护平台生态健康。
- 安全事件响应:参与数据安全、信息安全等突发事件的调查,分析事件原因、评估影响范围,推动整改方案落地。
- 跨部门协作:与人力资源、法务、安全、财务等部门紧密合作,确保调查流程的顺畅和结果的落地,同时为业务部门提供合规培训支持。
任职要求:硬实力与软实力的双重门槛
亚马逊对调查员的招聘要求严格,既关注专业背景,也重视综合能力,具体可分为以下几类:
教育背景与专业资质
- 学历要求:通常要求本科及以上学历,法律、刑事司法、会计、金融、信息安全、工商管理等相关专业优先;硕士学历或有海外留学经历者更具竞争力。
- 专业证书:持有注册舞弊审查师(CFE)、法律职业资格证、注册会计师(CPA)、信息安全认证(CISSP)等证书者会被优先考虑,这些证书证明候选人在特定领域的专业深度。
工作经验与实践积累
- 经验年限:一般要求3-5年相关工作经验,有企业内部调查、法务合规、审计、刑侦、网络安全等领域经验者优先,有执法部门(如FBI、警察局)工作经验者,或四大会计师事务所调查服务部经历者,在面试中更具优势。
- 项目案例:候选人需具备独立主导调查项目的经验,能够举例说明如何通过数据分析、证据链构建等方式解决复杂问题(如跨境洗钱调查、大规模数据泄露事件等)。
核心能力素质
- 调查与分析能力:熟练运用访谈技巧、数据分析工具(如SQL、Tableau、Python等),能够从海量信息中提取关键证据,构建逻辑严密的调查报告。
- 法律与合规意识:熟悉全球主要经济体的法律法规(如美国《反海外腐败法》、欧盟《通用数据保护条例》),确保调查过程合法合规,避免程序瑕疵。
- 沟通与影响力:具备优秀的跨文化沟通能力,能清晰向不同层级(从基层员工到高管)传达调查进展和结论,推动问题解决。
- 抗压与保密能力:调查工作常涉及敏感信息和高压场景,需保持冷静客观,严格遵守保密协议,避免信息泄露。
- 道德与诚信:亚马逊高度重视员工的职业操守,候选人需通过背景调查,无诚信污点(如过往欺诈、不当行为记录)。
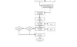
招聘流程:多轮筛选与深度匹配
亚马逊的招聘流程通常分为以下几个阶段,旨在全面评估候选人的适配性:
简历初筛与HR面试
- 简历筛选:HR会重点关注候选人的教育背景、专业证书、工作经验与岗位要求的匹配度,例如是否有调查类项目经验、是否熟悉相关法律法规等。
- HR面试:通过视频或电话面试,了解候选人的职业动机、对岗位的认知、薪资期望及职业规划,此阶段侧重考察候选人的沟通能力和文化契合度(亚马逊领导力准则中的“主人翁精神”“客户至上”等)。
专业技能测试与案例分析
- 笔试:部分岗位会设置笔试环节,考察法律知识(如证据规则、合规条款)、数据分析能力(如通过数据表格识别异常交易)或情景判断(如遇到员工拒绝配合调查时的应对策略)。
- 案例分析:候选人需针对模拟案例(如“某部门员工涉嫌虚报费用,如何展开调查?”)撰写调查方案或进行现场陈述,评估其逻辑思维、问题拆解和方案设计能力。
多轮业务面试
- 部门负责人面试:由调查团队负责人或合规部门总监主导,深入考察候选人的调查经验、过往项目细节及对行业动态的理解(如“如何应对跨境电商中的知识产权侵权调查?”)。
- 跨部门面试:邀请法务、人力资源、安全等部门同事参与,评估候选人的协作能力和对跨部门工作流程的熟悉程度,法务部门可能关注调查程序的合法性,人力资源部门则侧重候选人对员工关系处理的经验。
- 高管面试:部分高级岗位(如资深调查员)需与高管(如全球合规总监)面试,考察候选人的战略思维、风险判断能力及对亚马逊业务生态的理解。
背景调查与Offer发放
- 背景调查:亚马逊会对候选人进行严格的背景审查,包括核实工作经历、教育背景、无犯罪记录、信用状况等,确保信息真实可靠。
- Offer发放:通过所有环节后,HR会发放Offer,包含薪资、福利(如医疗保险、股票期权)、岗位职责及入职时间等,候选人确认后进入入职流程。
能力模型:亚马逊领导力准则的实践
亚马逊的招聘始终围绕其16条领导力准则,调查员岗位尤其强调以下准则:

- 主人翁精神(Ownership):对调查结果负责,主动推动问题解决,而非被动等待指令。
- 客户至上(Customer Obsession):通过调查维护平台和客户的合法权益,确保业务合规运营。
- 崇尚行动(Bias for Action):在确保合规的前提下,快速响应调查需求,避免拖延。
- 决断力(Decide and Commit):基于充分证据做出判断,即使面对复杂情况也能果断决策。
职业发展:从调查员到合规专家的进阶路径
亚马逊为调查员提供了清晰的职业发展通道,主要包括:
- 纵向晋升:从初级调查员到资深调查员、调查经理、合规总监,逐步承担更复杂的调查项目和团队管理职责。
- 横向拓展:可转向法务、风险管理、信息安全、内部审计等相关领域,成为跨领域合规专家。
- 全球化发展:亚马逊业务覆盖全球,优秀调查员有机会参与跨国项目,积累国际合规经验,甚至派驻海外分公司。
相关问答FAQs
Q1:亚马逊调查员岗位需要经常出差或加班吗?
A:调查员的工作节奏因项目类型而异,部分调查(如跨区域案件、现场取证)可能需要短期出差,尤其是涉及全球合规项目时;加班情况则取决于案件紧急程度,例如应对突发安全事件或季度合规审查时,可能需要阶段性加班,亚马逊会根据员工需求提供灵活的工作安排(如弹性工时),并确保加班符合当地劳动法规。
Q2:没有法律背景但想应聘亚马逊调查员,有哪些提升建议?
A:虽然法律背景是优势,但亚马逊也接受其他相关专业(如会计、信息安全、刑事司法)的候选人,建议从以下方面提升:
- 学习合规知识:通过在线课程(如Coursera的“企业合规”专项课程)、行业报告(如《反海外腐败法》指南)掌握基础法律和合规框架;
- 积累调查技能:参与内部调查项目(如企业合规部门实习)、学习数据分析工具(SQL、Power BI)和访谈技巧;
- 考取专业证书:如注册舞弊审查师(CFE)、CIPP(信息隐私专家)证书,增强竞争力;
- 关注亚马逊动态:通过亚马逊官网、合规博客了解其业务重点和合规要求,在面试中展现对公司的认知。

