招聘流程跟进是确保招聘工作高效、有序推进的关键环节,它贯穿从需求确认到候选人入职的全过程,直接影响招聘效率与候选人体验,以下从核心阶段、关键动作、工具方法及注意事项四个维度展开详细说明。

招聘流程的核心阶段与跟进要点
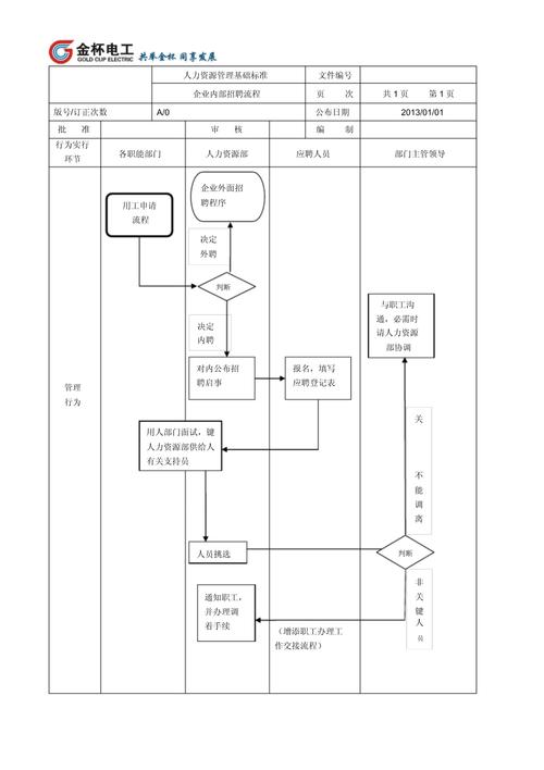
招聘流程通常分为需求确认、简历筛选、面试评估、薪酬谈判、背景调查、入职准备六个阶段,每个阶段的跟进重点不同:
-
需求确认阶段:与用人部门明确岗位需求,包括岗位职责、任职资格、薪酬范围、到岗时间等核心要素,需输出清晰的《岗位需求说明书》,并同步候选人画像,避免后续理解偏差,此阶段需确认用人部门对接人及决策机制,确保后续反馈及时。
-
简历筛选阶段:根据岗位需求筛选简历,重点关注硬性条件(如学历、经验)与软性匹配度(如技能、项目经历),筛选后24小时内与候选人电话沟通,确认求职意向、薪资期望及到岗时间,同步介绍公司基本情况,初步建立信任,对符合条件候选人,及时录入招聘系统并标记“初筛通过”。
-
面试评估阶段:协调面试官与候选人的时间,提前3天发送面试邀请(含时间、地点、形式、需准备材料),面试当天1小时前再次提醒,面试后24小时内收集面试官反馈,通过招聘系统记录评分与评语,对未通过候选人发送礼貌拒信,对通过候选人同步下一步安排,若面试官反馈延迟,需主动催促并说明原因,避免候选人等待过久。
(图片来源网络,侵删) -
薪酬谈判阶段:根据候选人期望与公司薪酬体系,制定个性化薪酬方案(含基本工资、绩效、福利等),与候选人沟通时需强调岗位价值与发展空间,而非仅聚焦薪资,达成一致后,2个工作日内发放《录用通知书》,明确岗位、薪酬、入职时间及需提交材料。
-
背景调查阶段:候选人确认入职后,启动背景调查(核实工作履历、学历、离职原因等),重点与证明人沟通工作表现与职业素养,调查结果需3个工作日内反馈,若存在风险点,及时与候选人沟通确认,必要时调整录用决策。
-
入职准备阶段:提前与候选人确认入职材料清单(如离职证明、体检报告),入职前1天发送欢迎邮件及报到指引,协调工位、设备、入职培训等资源,入职当天引导办理手续,介绍团队与公司文化,后续1周内跟进适应情况,及时解决问题。
招聘流程跟进的关键动作
为确保流程顺畅,需执行以下关键动作:

- 定期同步:每周与用人部门召开招聘进度会,同步各阶段候选人情况,对瓶颈问题(如面试官时间冲突)协同解决。
- 候选人关怀:在流程间隙(如面试间隔、背景调查期间)主动联系候选人,告知进展,避免“失联”导致offer流失。
- 数据复盘:每周统计各环节转化率(如简历筛选通过率、面试通过率),分析低效环节(如某岗位简历量不足),针对性优化渠道或需求描述。
工具方法与效率提升
- 工具使用:借助招聘管理系统(ATS)自动化流程,如自动发送面试提醒、同步候选人状态;使用日历工具(如Outlook、飞书)协调面试时间,避免冲突。
- 标准化模板:制定统一的《面试评估表》《拒信模板》《录用通知书模板》,确保信息规范、专业。
- 优先级管理:对紧急岗位或高潜力候选人标记“优先”,重点跟进,资源倾斜。
注意事项
- 信息透明:及时向候选人反馈流程进展,避免“已读不回”或模糊回应,影响雇主品牌。
- 风险预判:对可能出现的offer拒签、背景调查不通过等情况提前预案,如准备备选候选人名单。
- 合规性:确保薪酬谈判、背景调查等环节符合劳动法及公司制度,避免法律风险。
相关问答FAQs
Q1:如何应对用人部门反馈延迟导致的招聘流程卡顿?
A:首先与用人部门明确反馈时限(如面试后24小时内),对超时未反馈者,通过邮件+电话双重提醒,说明候选人已等待时长及流失风险;若仍延迟,可协调部门负责人介入,或临时安排其他同级别面试官进行评估,确保流程不中断,定期向用人部门宣导招聘时效的重要性,建立快速响应机制。
Q2:候选人接受offer后突然提出离职,如何跟进处理?
A:第一时间与候选人沟通,了解离职原因(如原公司挽留、家庭变故等),针对性解决问题:若为薪资顾虑,可尝试调整薪酬结构(如增加绩效奖金、提供签字费);若为岗位疑虑,安排部门负责人再次沟通岗位价值与发展路径;若无法挽回,及时启动备选候选人流程,并向用人部门说明情况,同步更新招聘计划,复盘该环节的跟进漏洞,如入职前增加“意向确认”环节,降低风险。
