招聘流程包括多个关键环节,从需求确认到员工入职,每个步骤都需系统化推进以确保高效、精准地吸纳合适人才,以下从企业实践角度详细拆解招聘流程的核心内容。

招聘需求确认与规划
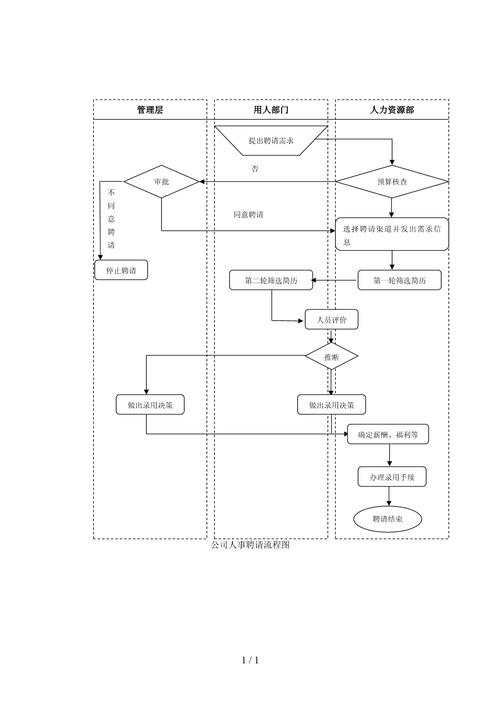
招聘启动前,用人部门需与人力资源部共同明确需求,首先进行岗位分析,梳理岗位职责、任职资格(如学历、经验、技能)及核心能力模型,避免因需求模糊导致招聘偏差,其次评估招聘规模,根据业务扩张或人员流失情况确定招聘数量,并制定时间表,明确关键节点(如简历筛选截止日、面试周期),同时需考虑预算,包含招聘渠道费用、面试成本及可能的猎头服务费,对于高端岗位或稀缺人才,可能需提前制定人才寻访策略,避免被动等待简历投递。
招聘渠道选择与信息发布
根据岗位特性选择适配渠道,主要分为内部招聘与外部招聘两类,内部招聘通过内部晋升、岗位轮换或内部推荐填补岗位,优点是成本低、员工忠诚度高,需明确内部竞聘流程与评分标准,外部渠道则更为多元:线上渠道如招聘网站(智联招聘、前程无忧等)、行业垂直平台(如拉勾网互联网岗位)、社交媒体( LinkedIn、脉脉)及企业官网招聘页面;线下渠道包括校园招聘(针对应届生)、专场招聘会、猎头合作(高端岗位)及内部员工推荐(可设置推荐奖励机制),信息发布时,需优化岗位描述,突出企业亮点(如发展空间、福利待遇)与岗位价值,同时避免使用模糊或歧视性语言,确保信息合规且具有吸引力。
简历筛选与初步沟通
人力资源部根据岗位要求进行简历初筛,重点关注硬性条件(如学历、专业、工作年限)与核心技能匹配度,剔除明显不符合者,通过初筛的简历进入复筛,由用人部门负责人结合项目经验、职业稳定性等细节进一步筛选,对于通过复筛的候选人,通常进行初步电话沟通,确认求职意向、到岗时间及薪资期望,同时向候选人介绍企业基本情况与岗位细节,避免后续因信息不对称导致双方放弃,沟通中需注意候选人语气、逻辑表达等软性素质,初步判断其与企业文化的契合度。
面试与评估环节
面试是招聘流程的核心,通常采用多轮面试组合,全面考察候选人能力,常见的面试形式包括:

- 结构化面试:针对岗位设计标准化问题,如“请描述一次你解决复杂项目问题的经历”,通过统一评分标准减少主观偏差;
- 半结构化面试:在结构化问题基础上,结合候选人过往经历追问,深挖能力细节;
- 行为面试法:通过“STAR原则”(情境、任务、行动、结果)考察候选人实际行为与过往业绩;
- 专业笔试/实操测试:技术岗通常需进行代码编写、方案设计等实操考核,销售岗可能模拟客户沟通场景;
- 无领导小组讨论:针对管理岗或需团队协作的岗位,观察候选人的组织协调、沟通能力与影响力;
- 背景调查:对拟录用候选人进行学历、工作履历、离职原因等核实,关键岗位需通过第三方机构调查,避免信息造假。
面试结束后,招聘团队需汇总各方评分,结合岗位需求进行综合排序,确定拟录用人选。
薪酬谈判与录用决策
人力资源部根据候选人资历、市场薪资水平及企业薪酬体系,与候选人沟通薪酬福利(基本工资、绩效奖金、五险一金、补贴等),寻求双方接受的平衡点,谈判中需明确薪酬结构、调薪机制及福利细节,避免入职后产生纠纷,确定薪酬后,由用人部门负责人与HR共同审批录用决策,发放录用通知书(包含岗位、薪资、到岗时间、需提交材料等),并约定入职前准备事项。
入职准备与背景调查
候选人接受offer后,HR需协助办理入职手续,包括收集身份证、学历证明、体检报告等材料,签订劳动合同,明确试用期考核标准与岗位职责,同时进行背景调查核实,重点确认工作履历真实性、离职原因有无负面记录,确保信息无误后安排入职。
入职引导与试用期管理
新员工入职首日需进行系统化入职引导,包括企业文化培训、公司制度讲解、部门职能介绍及岗位导师对接,帮助其快速融入团队,试用期(通常1-6个月)内,部门负责人需定期跟踪工作表现,通过周/月度反馈会议评估任务完成情况、学习能力与团队协作度,试用期结束前进行正式考核,合格者正式录用,不合格者协商延长试用期或解除劳动合同。

招聘效果评估与流程优化
招聘完成后,需进行效果复盘,关键指标包括:招聘周期(从需求确认到入职时长)、招聘成本(总费用/录用人数)、录用率(录用人数/简历投递量)、新员工3个月内留存率及岗位胜任度评分,通过数据分析优化流程,例如若某渠道简历质量低,可调整渠道投入;若面试周期过长,可简化面试轮次或引入视频面试工具,提升效率。
相关问答FAQs
Q1:招聘过程中如何避免因主观偏见导致的人才误判?
A:可通过以下方式减少偏见:一是采用结构化面试,统一评分维度与问题;二是引入多面试官(如HR+业务负责人+跨部门同事)综合评估,避免单一视角;三是使用标准化测试工具(如性格测评、技能测试)作为辅助参考;四是对面试官进行 unconscious bias(无意识偏见)培训,强调“岗位需求优先”原则,关注候选人与岗位的匹配度而非个人偏好。
Q2:如何判断候选人是否真正适合企业文化?
A:除面试中直接询问“你如何看待团队协作”等问题外,可通过行为细节判断:一是观察候选人过往经历中是否体现企业价值观(如创新、客户导向),通过具体案例验证;二是安排与未来同事的非正式沟通(如午餐交流),感受其沟通风格与团队氛围适配度;三是设置模拟工作任务,观察其解决问题的思维方式是否符合企业文化导向;四是了解候选人离职原因,判断其对“工作环境”“管理风格”的期望是否与企业实际情况一致。
